跳到主要内容

東京大学 工学系研究科 機械工学専攻 機械工学第2部 2025年8月実施 問題 1

Author

Andrea

Description

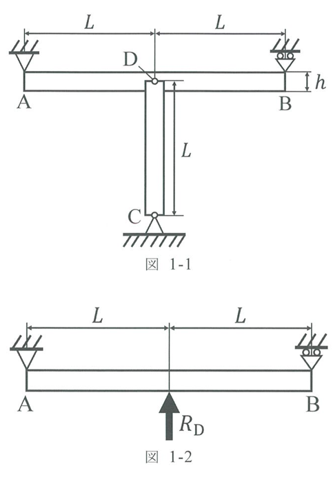
図 1-1 に示すような両端において単純支持された,高さ の矩形横断面を有する長さ のはり AB が,中央の点 D において長さ ,断面積 の棒 CD にピン結合されている構造を考える.また,棒 CD は点 C において水平な床面とピン結合されている.はり AB は水平方向,棒 CD は鉛直方向を向いている.はり AB は降伏応力 の弾塑性体,棒 CD は線膨張係数 の線形弾性体である.ヤング率,断面二次モーメントは,はり AB と棒 CD で共通で,それぞれ , である.初期状態では,はり AB と棒 CD には応力は加わっていない.はり AB,棒 CD の自重は無視してよい.

いま,棒 CD のみ温度が 上昇した.以下の設問に答えよ.

(1) 点 D において,はり AB と棒 CD 間が互いに及ぼしあっている力を とする.このとき,はり AB の変形は,図 1-2 に示すようにはりの中央に集中荷重 が加わる単純支持はりの変形として考えることができる.点 D におけるはり AB のたわみ を用いて表せ.

(2) 棒 CD の伸び を用いて表せ.

(3) を用いて表せ.

(4) に達すると,はり AB は降伏を始める. を求めよ.ただし,本設問(4)において棒 CD は座屈しないものとする. 5. 棒 CD が座屈する最低の温度上昇量を とする. となるための条件を, を用いて表せ. ただし,両端が回転軸に支持されている長さ ,ヤング率 ,断面二次モーメント の棒の臨界座屈荷重

で与えられるものとする.

Kai

(1) 梁 AB 的挠度推导

设梁 AB 左端为原点 ,梁长 。 由于结构对称,支座反力为 (方向向下)。 任意位置 () 的弯矩为 。 根据挠曲线微分方程

积分两次并利用以下边界条件确定积分常数:

  1. 对称性:在梁中点 (),转角为 0
  2. 支持条件:在支座处 (),位移为 0 解得挠度方程:

时,即为 D 点挠度 (取绝对值):

(2) 棒 CD 的伸长量

应用叠加原理,棒 CD 的总变形由以下两部分组成:

  1. 热膨胀(向上伸长): 由温度升高 引起:
  2. 弹性压缩(向下收缩): 由梁的反力 (压力)引起:

因此,棒 CD 的总伸长量为:

(3) 求相互作用力

利用几何协调条件:在连接点 D,梁的向上位移必须等于棒的向上伸长量。

代入 (1) 和 (2) 的结果:

我们需要解出 。首先消去等式两边的 ,并将含有 的项移到左边:

提取公因式

通分括号内的项(公分母为 ):

解得最终结果:

(4) 求梁 AB 开始降伏时的温度

梁 AB 发生降伏的条件是最大弯曲正应力达到降伏应力

对于跨度为 、中点受力 的简支梁,最大弯矩 发生在跨中:

最大弯曲应力 发生在截面最外缘(距离中性轴 处):

,解出对应的临界力

代入第 (3) 问求得的 的关系式中:

消去两边的 ,解出

(5) 棒 CD 发生座屈的条件

题目给定棒 CD 的临界座屈载荷为:

我们要求的是“棒 CD 在梁 AB 降伏之前发生座屈”(即 )。 由于系统是线性的,内力 与温升 成正比。因此,这一条件等价于:使棒座屈所需的力,必须小于使梁降伏所需的力

代入前面求出的表达式(注意 ):

化简步骤

  1. 消去两边的 (材料性质相同,截面二次矩相同)。
  2. 两边同乘 (消去分母中的一个 )。

整理得到最终条件: