跳到主要内容

東北大学 工学研究科 電気・情報系 2021年8月実施 基礎科目 問題2 電気回路

Author

蛋黄猫物理 (xhs: 94162357270)

Description

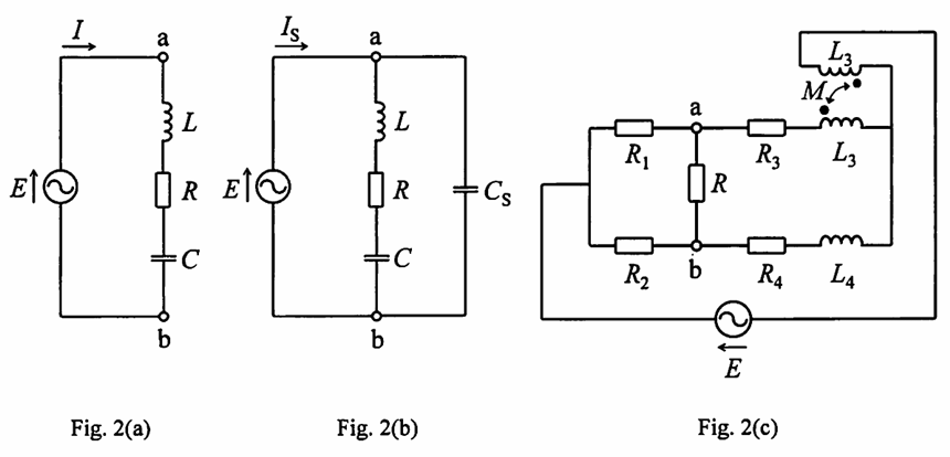
(1) Fig.2(a) に示す回路について、以下の問に答えよ。電源電圧の実効値は V, 電源の角周波数は rad/s, 回路に流れる電流は , インダクタンスは H, 抵抗は , キャパシタンスは F である。

  • (a) 電流 について、, を求めよ。

  • (b) 回路全体における有効電力 と無効電力 , ならびに力率 を求めよ。

  • (c) 力率 とするために、Fig.2(b) に示すように。Fig.2(a) の a-b 間にキャパシタ を求めよ。

  • (d) 問(c) において、Fig.2(b) に示す回路全体の抵抗成分で消費される電力を求めよ。また、Fig.2(b) に示す回路に流れる電流を とする。電圧 (基準として), ならびに問(a)で求めた電流 のフェーザ図を描け。ただし、フェーザ図には、 の値を明記し、電流 の関係性が明確になるように記載すること。

(2) Fig.2(c) に示すブリッジ回路について、以下の問に答えよ。自己インダクタンスは H, H, 抵抗は である。a-b 間の電位差がゼロであるとき、相互インダクタンス の値を求めよ。

Kai

(1)

(a)

(b)

(c)

导纳为实数来推导:

(d)

(2)

用T型等效的电桥平衡:

代入化简条件: