跳到主要内容

京都大学 情報学研究科 システム科学専攻 2021年8月実施 専門科目 制御工学

Author

AKIRA (小红书:94184092292)

Description

問題 1

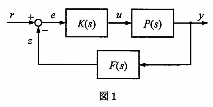
図1のフィードバック制御系において、伝達関数 はそれぞれ以下の微分方程式で記述されるシステムを表すとする。

また、

とする。 は定数パラメータである。以下の設問に答えよ。

(1) 伝達関数 と、 から への伝達関数 を求めよ。

(2) のとき、単位ステップ入力 に対する応答 を求めよ。

(3) のとき、フィードバック制御系が安定となるような の条件を求めよ。


問題 2

は図2のようなベクトル軌跡を持つ伝達関数であり、それぞれの極は (重複はない)であるが、実部が負である。図2の破線はベクトル軌跡の漸近線を表す。 は正の定数とする。以下の設問に答えよ。

(1) 図3(a)のフィードバック制御系が安定であるような の条件を求めよ。

(2) 図3(a)のフィードバック制御系のゲイン余裕が 20dB 以上になるような の条件を求めよ。

(3) 図3(b)のフィードバック制御系が の範囲にあるすべての実数 に対して安定であるような の条件を求めよ。

(4) 自然数 と非負の実数 に対して、

は図2のようなベクトル軌跡を持つ伝達関数とする。このうち が最小であるようなものを求めよ。

Kai