跳到主要内容

東京工業大学 工学院 電気電子系 2022年8月実施 電磁気学1

留学警示(商务部公告2026年第12号)

根据中华人民共和国商务部公告2026年第12号,东京科学大学(東京科学大学/Institute of Science Tokyo)已被列入关注名单。请中国留学申请者慎重考虑相关风险,在做出留学决定前充分了解相关政策及其可能带来的影响。

Author

Zero

Description

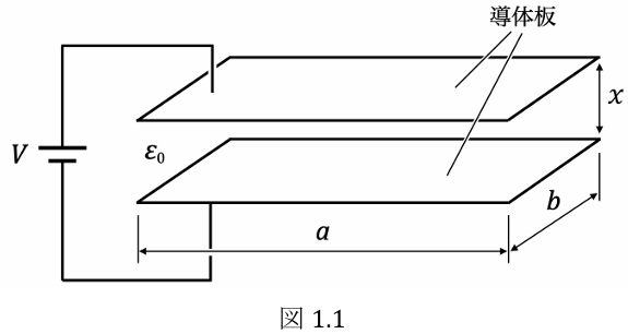
真空中に固定された平行平板コンデンサについて,以下の問に答えよ。真空の誘電率を とし,端部効果は無視できるものとする。

(1) 図 のように,厚さが無視できる辺の長さが の長方形導体板を間隔 で平行においたコンデンサがある。

① このコンデンサの静電容量 を用いて表せ。

つの導体板間に電位差 を与えたときの導体板間の電界強度 , 静電エネルギー および,このとき導体板間に働く静電気力の大きさ を, それぞれ のうち必要なものを用いて表せ。また,静電気力の向きは導体板が引き合う方向か,反発し合う方向かを答えよ。

③ 図 のように つの導体板に の電荷を与えると一様に電荷が分布した。このときの導体板間の電界強度 と静電エネルギー および,導体板間に働く静電気力の大きさ を,それぞれ のうち必要なものを用いて表せ。また,静電気力の向きは導体板が引き合う方向か,反発し合う方向かを答えよ。

(2) 厚さが無視できる一辺の長さ の正方形導体板を間隔 で平行においたコンデンサがある。図 のように,この導体板間に一辺の長さ , 厚さ , 誘電率 の正方形誘電体板を導体板に重なる位置で,導体板間の中央に平行に だけ挿入し, このコンデンサの導体板間に電位差 を与えた。誘電体は帯電していないものとする。

① 図 に示す領域 I と領域 II の部分の静電容量 および を,それぞれ のうち必要なものを用いて表せ。

② 誘電体板に働く静電気力の大きさ のうち必要なものを用いて表せ。また,その静電気力の向きを図 の右向きか左向きかで答えよ。

Kai

(1)

従って、

より、

静電気力の向きは導体板が引き合う方向である。

静電気力の向きは導体板が引き合う方向である。

(2)

領域 I II にそれぞれ の電荷が表れるとすると、

(i) 領域 I

従って、

(ii) 領域 II

また、境界条件より、

従って、

より、静電気力の向きは図 の左向きである。